Our Complete Product Catalogue

We manufacture a comprehensive range of precision collets and CNC machine components:

Collets (All Types)
Collet Chucks for CNC
Collet Sleeves
CNC Collet Fixtures
Drilling Machine Holders
Special CNC Collets
Multi-Spindle Collets

PRODUCT CATEGORIES

Hover over each category to see available product types

COLLETS
  • Standard Collets
  • Multi-Spindle Collets
  • Sliding Head CNC Collets
CNC COLLET FIXTURES & CHUCKS
  • CNC M/c Collet Fixtures
  • Collet Chucks for CNC
  • Spindle Sizes: A2/4, A2/5, A2/6, A2/8
DRILLING MACHINE COLLET HOLDERS
  • Drilling M/c Collet Holder
  • Multi-Application Holders
  • Custom Drilling Holders
COLLET SLEEVES
  • Standard Sleeves
  • CNC Sleeves
  • Single Sleeves
CNC REVOLVING CENTRES
  • CNC Revolving Centres
  • Custom Revolving Centres
  • Precision Revolving Units
MULTI-SPINDLE COMPONENTS
  • Multi Spindle M/c Collets
  • Multi Spindle Feed Fingers
  • Sliding Head Machine Parts

Technical Specifications & Standards

Single Spindle Automat Collets
As per IS 6238 & DIN 6343

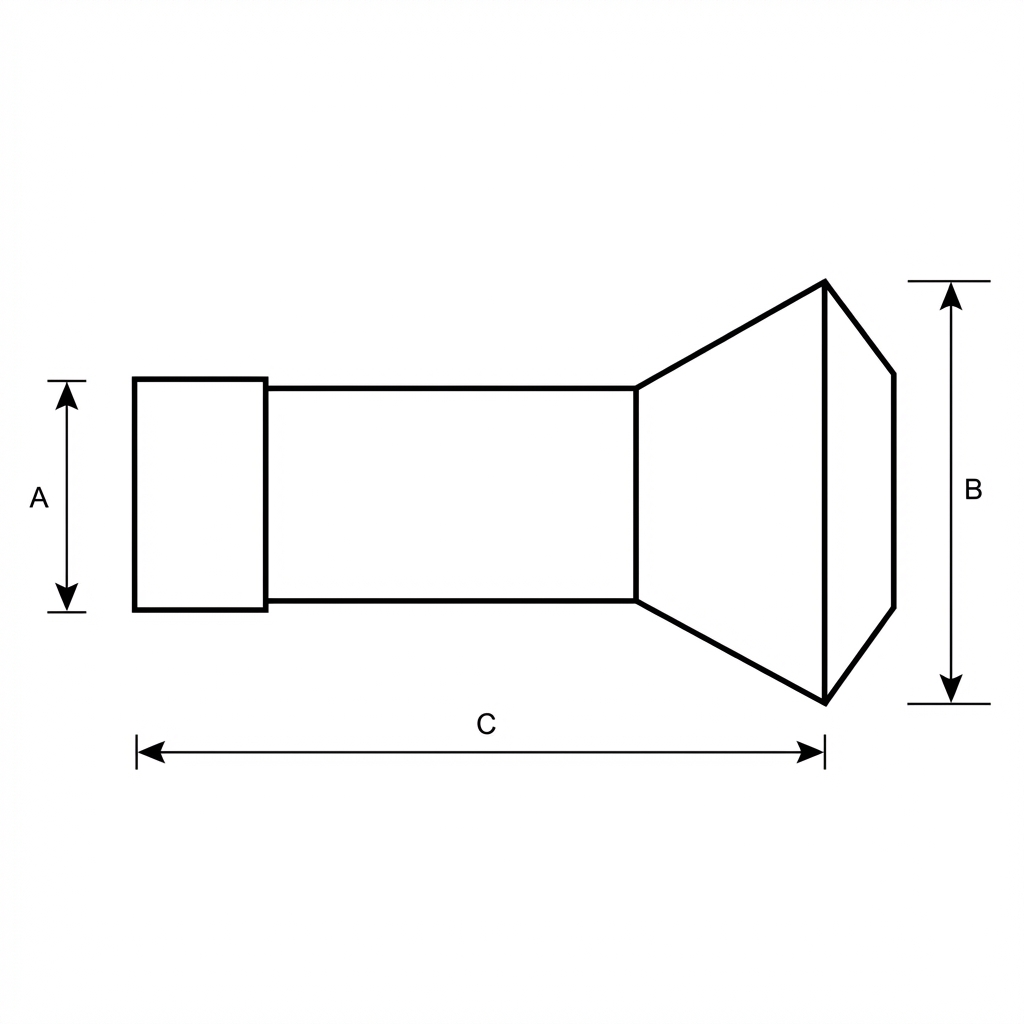
Technical Drawing: Dimension Keys
Single Spindle Collet Technical Drawing
A: Shank Dia B: Head Dia C: Total Length
DIN STANDARD A B C MAX
rnd hex sqr
DIN-22-6343 22 30 55 16 13 11
DIN-28-6343 28 38 70 22 19 15
DIN-32-6343 32 45 75 26 22 18
DIN-35-6343 35 48 80 30 26 21
DIN-48-6343 48 60 94 42 36 29
DIN-66-6343 66 84 110 60 52 42

The above mentioned collets are used in machines like Traub, PMT, Deem, SGS, Abijeet, Arrow etc.

HMT Standard (Single Spindle)

Dimension Reference:
A = Shank Diameter | B = Front/Nose Diameter | C = Overall Length

HMT STANDARD A B C MAX
rnd hex sqr
HMT TR-16B 22 30 55 16 13 11
HMT TR-22B 28 38 70 22 19 15
HMT TR-25B 32 45 75 26 22 18
HMT TR-32B 38 49 107.5 32 28 22
HMT TR-42B 48 60 94 42 36 29
HMT TR-60B 68 84 109 60 52 42

The above mentioned collets are used in HMT, Manurhin machines.

HMT & Gildemeister Multi Spindle Collets

Technical Drawing: Dimension Keys
Multi Spindle Collet Technical Drawing
A: Shank Dia B: Head Dia C: Total Length
GILDEMEISTER STANDARD A B C MAX
rnd hex sqr
AS-32 53 69 128 32 27 22
AS-48 70 90 149 48 41 34
AS-67 90 115 170 67 58 47

The above mentioned collets are used in HMT, Gildemeister multi spindle machines.

© 2026 Pneudraulics. All Rights Reserved.